告别证书过期焦虑!这款开源神器让你的网站 HTTPS 永久在线
本文将为你介绍一款能彻底改变你管理 SSL 证书方式的开源项目。
你是否曾因为忘记续签 HTTPS 证书而导致网站“裸奔”,浏览器地址栏出现“不安全”的刺眼警告?你是否曾为在多个服务器、CDN、云存储上手动部署和更新证书而焦头烂额?
在如今这个 HTTPS 成为标配的时代,SSL/TLS 证书管理已经成为每一位开发者、运维工程师和站长必须面对的日常。证书的申请、验证、部署、续期…… 任何一个环节出错,都可能导致网站服务中断,给用户带来极差的体验,甚至造成业务损失。
手动管理少量证书尚可应付,但随着业务的扩展,服务器和域名的增加,这项工作会变得异常繁琐且极易出错。
难道就没有一种更优雅、更高效的解决方案吗?
今天,我们向你隆重推荐一款开源利器——AllinSSL,它将彻底把你从繁杂的证书管理工作中解放出来!
项目地址: https://github.com/allinssl/allinssl.git
什么是 AllinSSL?
AllinSSL 是一个集证书申请、管理、部署和监控于一体的 SSL 证书全生命周期自动化管理工具。
简单来说,你只需要进行简单的配置,AllinSSL 就能帮你搞定关于 SSL 证书的一切:
- 全自动申请和续期:支持 Let's Encrypt 等多家免费证书颁发机构(CA),证书到期前自动为你续期,让你高枕无忧。
- 一键部署到多平台:无论你的网站部署在物理服务器、云主机,还是使用了 CDN、WAF、宝塔面板、1Panel,AllinSSL 都能将证书自动推送到指定位置。
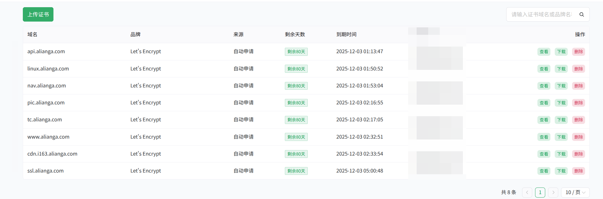
- 可视化仪表盘:在一个清爽的仪表盘中集中管理你所有的证书,状态、有效期、部署情况一目了然。
- 全方位监控与告警:实时监控证书状态,并通过 Webhook、邮件等多种方式及时发送到期预警和异常通知,确保证书问题第一时间被发现和处理。
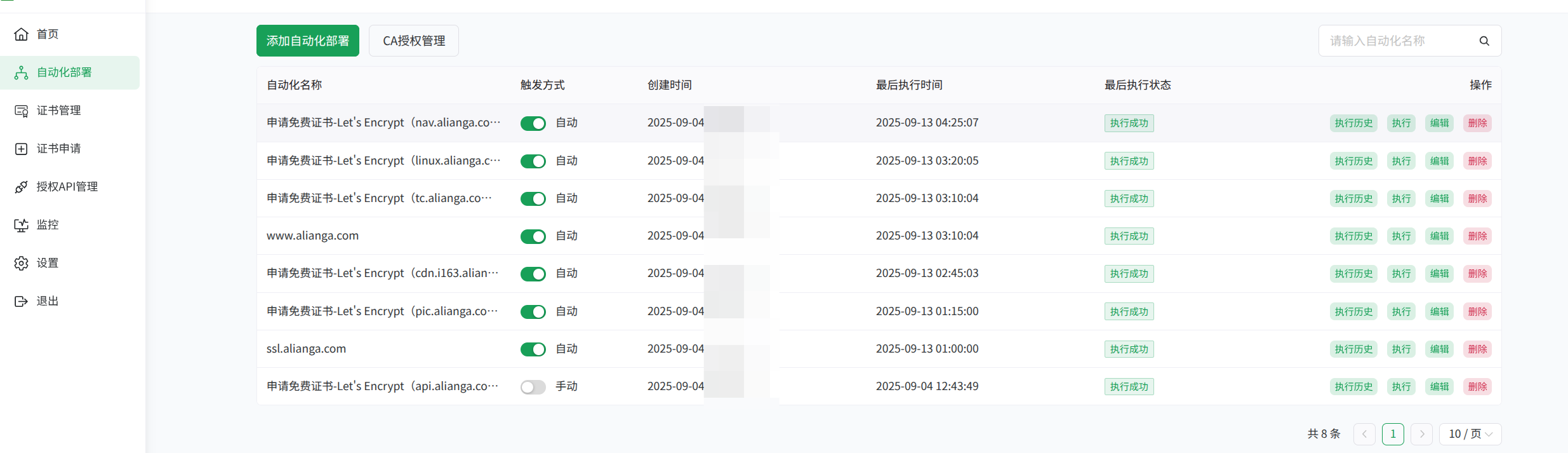
- 灵活的工作流引擎:通过拖拽式的方式构建自动化部署流水线,满足不同场景下的证书部署需求。
AllinSSL 为何如此强大?
相较于传统的脚本或其他工具,AllinSSL 具有以下显著优势:
- 彻底自动化,告别手动操作 从申请、验证、签发、部署到自动续期,实现真正的“一次配置,永久有效”,大幅减少手动操作和人为出错的风险。
- 强大的平台兼容性 无缝集成了市面上主流的 DNS 服务商、云平台(阿里云、腾讯云等)、服务器面板以及 CDN 服务,解决了跨平台部署的难题。
- 直观易用的管理界面 对于不熟悉命令行的用户极其友好,通过可视化的 Web 界面即可完成所有操作,极大降低了使用门槛。
- 开源免费,社区驱动 项目基于 AGPL-3.0 许可开源,核心功能完全免费。活跃的社区和持续的更新迭代,让工具更加完善和可靠。
📌 项目亮点
- ✅ 全自动证书申请/续期
- 🌐 多平台部署(CDN/WAF/面板/云存储)
- 🔔 证书过期监控
- 🛡️ 安全入口保护
- 📊 可视化证书管理
🚀 快速开始
系统要求
- Linux 系统
- macOS/Windows(请参照下面教程,暂不支持脚本安装)
- Docker
极速安装
curl -sSO http://download.allinssl.com/install_allinssl.sh && bash install_allinssl.sh allinssl
极速安装(备用)
curl -sSO https://cnb.cool/allinssl/install.sh/-/git/raw/main/install_allinssl.sh && bash install_allinssl.sh allinssl
Docker安装
docker run -itd \
--name allinssl \
-p 7979:8888 \
-v /www/allinssl/data:/www/allinssl/data \
-e ALLINSSL_USER=allinssl \
-e ALLINSSL_PWD=allinssldocker \
-e ALLINSSL_URL=allinssl \
-e TZ=Asia/Shanghai \
allinssl/allinssl:latest
二进制文件安装
- 打开 releases 下载页面
- 下载最新版本的二进制文件
- 解压缩文件,并通过终端或者CMD进入解压目录
- 获取登陆地址,账号和密码
- 账号和登陆地址:
- Linux:
./allinssl 15 - Windows:
.\allinssl 15
- 密码:
- Linux:
./allinssl 6 - Windows:
.\allinssl 6
- Linux:
- 运行可执行文件启动服务,请保持终端打开,或者自行配置进程守护
- Linux: 执行
./allinssl start - Windows: 终端进入到解压目录,执行
.\allinssl start
- Linux: 执行
- 访问
http://your-server-ip:port/安全入口,使用账号和密码登录 - 更多命令行操作请参考 命令行操作
源码编译安装
如需自行编译,请确保已安装Go 1.23+环境:
git clone https://github.com/allinssl/allinssl.git
cd allinssl
go mod tidy
go build -o allinssl cmd/main.go
./allinssl start
首次配置
- 访问
http://your-server-ip:port/安全入口 - 添加DNS提供商和主机提供商凭证 ☁️
- 创建工作流
🎯 核心功能
📜 证书管理


| 功能 | 支持提供商 |
| -------- | -------------------------------------- |
| DNS验证 | 阿里云、腾讯云、Cloudflare... |
| 证书部署 | 宝塔面板、1Panel、阿里云CDN、腾讯云COS |
| 监控通知 | 邮件、Webhook、钉钉 |
⚙️ 自动化流程


授权 API 管理

🛠️ 技术架构
🏗️ 系统架构图
📚 使用文档
💻 命令行操作
# 基本操作
allinssl 1: 启动服务 🚀
allinssl 2: 停止服务 ⛔
allinssl 3: 重启服务 🔄
allinssl 4: 修改安全入口 🔐
allinssl 5: 修改用户名 👤
allinssl 6: 修改密码 🔑
allinssl 7: 修改端口 🔧
# Web服务管理
allinssl 8: 关闭web服务 🌐➖
allinssl 9: 开启web服务 🌐➕
allinssl 10: 重启web服务 🌐🔄
# 后台任务管理
allinssl 11: 关闭后台自动调度 📻⛔
allinssl 12: 开启后台自动调度 📻✅
allinssl 13: 重启后台自动调度 📻🔄
# 系统管理
allinssl 14: 关闭https 🔓
allinssl 15: 获取面板地址 📋
allinssl 16: 更新ALLinSSL到最新版本(文件覆盖安装) 🔄⬆️
allinssl 17: 卸载ALLinSSL 🗑️
🌟 Star本项目以支持开发 | 推荐用于:中小型网站运维、多证书管理场景、自动化HTTPS部署
Q.E.D.


